一、传统称重系统概述
1.1系统设计原始依据
一直以来,传统的汽车衡称重系统都是企业称重计量工作中的难题。由于人为因素或者设备及流程本身问题的存在,导致作弊现象层出不穷,大小差错也是接连不断,称重效率也得不到有效的提升,日积月累下来都会对企业带来巨大的经济损失。另外,汽车衡现场环境恶劣,严重影响工作人员身心健康。为有效解决企业现存的这些问题,给客户提供一个舒适、安全、高效的工作环境,并考虑到以后保养、维护的便利性,借助于监控、检测、控制多种尖端技术,我公司研发出了汽车衡智能称重系统。

1.2 汽车衡传统称重系统过磅方式
★ 车辆上磅
★ 司机提交相关单据
★ 司磅员手动录入车辆相关信息
★ 称重完毕后打印小票
★ 司机取票离开
1.3 汽车衡传统称重系统常见作弊手段
★ 空车加载或多车同时上磅,增加车辆皮重,减少货物净重;
★ 重车不完全上磅,减少货物净重;
★ 重车过磅时,人为撬磅;
★ 更换车牌作弊;
★ 使用遥控装置干扰汽车衡的传感器,改变称重结果;
★ 实际运输货物与登记记录货物不同;
★ 冒领货物,冒充客户提取货物;
★ 内外勾结,监守自盗。
二、智能称重控制系统
2.1、智能称重系统概述
本系统采用当前较为前沿的移动车辆识别技术,先进的过磅衡重管理方法,过磅作业中的司衡环节基本不用人为干预,从而最大可能减少货主的货损,最大限度地平衡买卖货主之间在衡重环节的利益,提高了过磅作业中司衡的服务水平。本系统是采用射频识别设备自动识别过磅车辆,配有视频监控系统配合计算机自动完成称重、放行过程的智能化称重系统,能规范称重流程,提高作业效率,且能有效避免人为作弊情况的发生。
2.2、智能称重系统布局图

布局图说明:
1. 磅房位置用户确定,尽量不要离秤台太远;
2. 基础坑型式用户确定,需要综合考虑现场实际情况;
3. 计算机、打印机等相关设备布置在磅房内;
4. 双向过磅,两端均布埋地感线圈或者安装雷达;
5. 磅前后各布置一对红外对射光电开关,车辆完全在两对光电开关范围内才允许称重;
6. 现场前后布RFID卡读写(可选择近距离、中距离、远距离),将车停稳后,司机刷卡(高频远距离自动读卡);整个RFID卡管理系统,分为写卡和读卡系统,RFID卡可以写入车号、空车的重量、司机姓名等信息。当载重货物过磅的时 候,司机就近刷RFID卡,通过RFID卡读写器则可以读到写在卡里面的信息,然后通过净重=毛重-皮重,计算货物的净重;
7. 磅前后各布置一套摄像头,称重保存数据同时抓拍图片;
8. 地磅采集系统:当车辆进入秤台,并且地磅的称重仪表处在稳定的状态下,则计算机称重软件采集仪表的重量数据;
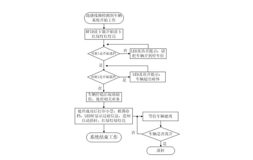
2.3、智能称重系统工作流程

1. 司机至开卡处开得RFID卡片(卡可长期使用);
2. 司机将车辆开至入口地感线圈,启动读卡
3. 通过读卡,正确信息录入后,前道闸抬起;
4. 司机将车辆 开至地磅上;
5. 车辆必须完成停靠到两对光栅之间;
6. 当车辆停稳后,系统自动保存重量;
7. 同时抓拍摄像头所拍摄图像,如车头,车尾;
8. 大屏幕显示车辆重量;
9. 后道闸打开,司机将车辆开出地磅 ;
10. 当车辆完全离开后,道闸自动落杆;
11. 系统恢复初始称重状态。
2.4、智能称重系统两种解决方案
方案一:远程集中管理方案

一套系统管理一台地磅,即每台地磅配置一台工控机,一台显示器,一套地磅管理软件。 该方案适用于称重业务复杂的港口等企业和一台地磅的小型企业。对于两个磅以上的企业,需建立专门的集控中心进行过磅管理。系统智能化程度高,数据的录入全部由系统自动实现,尽可能地减少了人为操作,一个司磅员可以管理两个地磅。
方案二:无人值守自动称重方案

一套无人值守智能称重系统管理多台地磅,每台地磅配置一台工控机,一套后台服务程序,通过网络与集中管理程序相互通信,实现一套集中管理程序管理多台地磅。该系统的运行在正常情况下无需人工干预,全自动运行。出现系统无法自动处理的异常情况时,系统报警提示人工处理。 该方案适用于称重业务简单的企业和拥有两台地磅以上的企业。该方案无需配置专门的集控中心,局域网内的任何一台电脑安装集控端程序后都可实现过磅管理。
三、智能称重系统详细设计方案
3.1 自动称重系统构成
全自动汽车衡称重系统按功能性划分:
(1)地磅数据采集系统: 在车辆行进过程中,地磅数据采集系统用于实时采集电子地磅采集到的重量信息,经过分析选择出正确的重量信息发送给集控中心系统。
(2)电子车牌识别系统: 电子车牌识别系统采用射频识别技术(Radio Frequency Identification,简称为RFID)实现车辆身份识别,系统在车辆行进过程中动态采集电子 车牌信息。
(3)视频监控系统: 用监控摄像机24小时不间断监控车辆过磅情况,并录像,截图存档,以备事后查询;
(4)车辆控制系统: 使用地感线圈检测器和红外对射传感器检测车辆位置,进而控制电子档杆自动抬杆、落杆。
(5)自助人机交互系统: 在地磅房窗户或者安装自助机,用于自动打印过磅小票,显示称重信息,以及实现工作人员与司机的实时通话。
(6)集中控制系统: 集中处理前端设备采集到信息,完成过磅业务。另外,还可根据企业需求定制额外的功能。例如,称重信息的查询统计,车辆管理,电子标签卡管理 等。
3.2、智能称重系统特点:
★ 数据的采集尽可能地全部采用系统自动采集方式,减少人为干预,提高数据采集的准确性,实时性。
★ 加快过衡速度,提高生产作业效率。
★ 规范过磅流程,堵住漏洞,更有效的避免作弊情况的发生。
★ 对汽车衡进行集中式的管理,一个人可以管理多个汽车衡,可减少司衡人员,减轻企业的负担。
★ 安装自助人机交互系统,代替磅房,节省建筑成本;设备集中安装,便于管理,防止人为破坏。
★ 司衡人员远程集中办公,实现地磅无人值守,避免了司机与司衡人员的直接接触,改善了司衡人员的工作环境。
★ 与IC卡无人值守地磅系统对比,我们的电子车牌可进行远距离读卡,实现车辆行进过程中读卡。陶瓷RFID卡具有防拆功能,可杜绝司机利 用交换卡片、车牌等作弊。
★ 完善过磅车辆的管理,做到车、卡的完美结合。
★ 可根据企业需求定制额外的功能,可实现与生产系统等的无缝对接。
★ 集控中心与前端数据采集系统通过网络连接,不增加额外的链路建设成本。
★ 系统具有多种手段防止作弊行为。
3.3、防作弊手段详细说明
★ 使用车辆控制系统检测车辆位置,防止车辆不完全上磅。
★ 监控系统摄像机从不同角度对过磅车辆进行监控,并拍照留档,监控空车加载、多车同时上磅、人为撬磅等行为。
★ 采用陶瓷电子标签卡具有防拆功能,可杜绝司机利用交换卡片、车牌作弊。
★ 系统自动采集过磅数据,且对司磅员操作系统做实时记录,避免人为操作错误造成损失。
★ 地磅数据采集系统实时监控磅值变化过程,防止人为干扰地磅传感器作弊。
★ 发卡时将车辆基本信息及空车重量与电子标签卡号绑定,在每次空车过磅时进行比对,对车重变化超出正常范围的及时检查并报警提示。 另外,电子标签卡作为唯一合法的身份证明,避免冒领货物等行为的发生。
四、智能称重系统配件说明
4.1 红外光电感应检测子系统(具体品牌型号配置根据用户使用的实际需求而定)

增加红外车辆定位功能是防止车辆未完全上磅,却被人为的将车辆重量保存,造成人为有意或者误操作而带来损失,车辆过磅有在地磅上的状态有以下几种情况,
品名:红外光栅
型号:GS1710
规格:高度1700,检测高度1300,10光束
防水:IP54
材质:不锈钢304
工艺:激光切割

空车不完全上磅状态多出现在工厂收购原料时,车辆进厂,正常过完毛重后,回皮时,有车轮未完全上磅,导致皮重下降,从而净重变大,令企业受损.

重车不完全上磅状态多发生在企业销售货物时,司机为了少付购物款,从而车辆不完全上磅,若过磅人员监督不力,会对企业造成巨大损失;

以上三种情况下只有图3的过磅数据为准的,若车辆在图2或图4状态下均造成重量偏轻。若车辆在称皮重时发生偏轻的情况,势必造成公司损失;加装红外对射模块后,针对车辆的位置作弊,可以杜绝,当车辆停止位置在图2或者图4时,系统软件会做出位置提示,提示对射信号被档,且此时软件不允许保存数据:
4.2图像车牌识别与视频监控子系统
设置监控系统,以防止计量称重作弊行为。监控系统可独立在称重系统之外,也可与称重管理软件结合在一起;视频采集监控系统要求:在每台秤旁安装三路摄像监控系统,一路安装在秤前方;一路监视车辆(车尾部分)情况;一路监视车辆装载货物的情况;三路监视信号除了进入监视器(集中显示)进行实时监控以外,还将信号送入计算机,以便车过磅时进行图像抓拍,并将图像保存在数据库服务器中,在相关部门进行称重数据查询时也能查看到对应的抓拍图片。

每台摄像机的监控信号通过视频分配器分别连接到计算机和硬盘录像机。

摄像抓拍功能,采集的图像可以根据数据筛选查看,一目了然。
4.3 RFID卡车辆自动识别子系统(具体品牌型号配置根据用户使用的实际需求而定)

(1)ID卡自动管理系统: 由计算机、IC卡识别设备(IC卡及读写器)组成。读写器放置在地磅附近或磅房附近司机够得着的位置;称重时,司机在车上拿IC卡在读写器票 箱刷卡区或下车到读写器边上进行刷卡操作,控制室内的工作站计算机读取IC卡号信息。每张ID卡内存储的数据信息同时会存储在数据库中,数据库中还可以存放持
卡 人所属企业、持卡人照片等信息。
(2)ID卡发卡子系统: ID卡通过发卡环节发放,系统利用专用的发卡卡具写入卡片密钥信息、数据信息。同时将相关数据信息保存到数据库中。
名称:超高频一体式读卡器/桌面发卡器
型号:WP-9002R /WP-9005U
规格:450*450 12dbi/3dbi
性能:ISO18000-6C(EPC C1 GEN2)
1--10米可调/0--1米可调
提供定时模式、主从模式、触发模式
4.4 红绿灯道闸控制子系统(具体品牌型号配置根据用户使用的实际需求而定)

功能描述:
道闸控制子子系统主要是接收时序控制子系统的指令,控制红绿灯的切换及道闸栏杆的升降,达到指示车辆放行的目的。
标准道闸
规格:3m
主要技术参数:
工作电压:AC220±10%V 50Hz
使用环境温度:常规型-15度 - +60度 低温型:-40度 - +60度
工作相对湿度:< 85%
减速电机功率:300w
闸杆中心高度:930mm
闸杆升、降时间:1.5-5秒
特点及应用简介:
1.采用电动机的减速机构、传动机构来实现闸杆的升降,利用光电检测装置实现水平、垂直两极限位置的自动定位
2.外形美观大方,结构小巧,箱体采用不锈钢等,坚固防水
3.集光、电、机械控制于一体,操作灵活、方便,使用安全、可靠
4.传动系统具有双重自锁功能,可防止人为抬杆
5.配上红外线检测保护装置或地感检测保护装置,以及先进的压力电波检测技术,可有效防止砸车现象发生
6.闸杆多样化,长度可选(2.5-6m),最长可达6米,适用范围广
7.闸杆升降平缓、可靠、升降时间6秒,当闸杆长度超过4米时,一般需要安装叉杆
8.机箱品种多样化,(其中有标准型、砂光型、镜面型、钛金型曲杆道闸,可任意选择)可适用不同环境与场所
4.5 车辆检测器(具体品牌型号配置根据用户使用的实际需求而定)
品名:车辆检测器
型号:PD132A
规格:单地感2路继电器输出车检测器
供电:AC220V
特点: 4种频可调
4级灵敏度调节
增强滤波开关
铁氟龙高温线,镀锡,耐高温地感专用 线 FVN0.75
4.6 语音报警指引系统(具体品牌型号配置根据用户使用的实际需求而定)

★多种报警音调可调,报警音量连续可调;
★带喊话器,喊话音量连续可调,扩音喇叭有多种功率10WW(W80W供选配;
★声光报警可同时亦可单独;
★多种组合配置方式,系统应用方便灵活;
品名:语音播报系统
型号:USD-60
规格:60W功放,40W防水 IP65音柱,麦克风
4.7 红绿灯
★ 绿箭红叉;
★ 可视距离>200米;
★ 灯板直径 300mm
★ 供电电压 AC220V
4.8 工业控制计算机(具体品牌型号配置根据用户使用的实际需求而定)

品名:工业控制计算机
型号: IPC-6000(根据用户使用的实际需求而定)
配置:I3/8G/500G/键鼠
4个RS232串口
4.9 工业交换机(具体品牌型号配置根据用户使用的实际需求而定)
品名:工业级交换机
型号:LF-SG1008D
规格: 8口全千兆交换机
特点:采用全钢材料壳体,更好屏蔽干扰,增强散热性能,采用存储转发传输模式,8个100/1000M自适应端口,开孔,固定控制柜安装;
4.10 称重管理软件
1、称重管理软件:
称重管理软件使用delphi主流编程语言编写,数据库采用ACCESS或SQL 2000数据库均可使用,若与其它EPR、OA、MIS等系统连接建议使用SQL数据库安装。数据库同时可采用本地数据库,也可使用网络数据库。可以以本地数据库保存,远程数据库备份数据,做到数据的万无一失。也可对数据的统一管理。

2、软件操作简单,功能齐全:

可以将各种货物、供应商和客户的公司名称等信息设置为快捷数字代码,在过磅时直接输入代码就可以提取相应的信息,整个输入称重打印数据过程平均在30~40秒左右,运行效率可以迅速提高.

4、丰富的报表内容

5、数据接口,
本软件数据库对外提供多种接口,Web Service、XML文件、制作SQL接口表和网络Socket。可以方便ERP、MES系统接收数据。同时在硬件设备允许的情况下,也提供MODBUS和4~20mA 信号的接口,以方便DCS系统接收地磅数据。数据库字典如下表所示例。

五、无人值守智能称重用户案例



无人值守智能称重系统更多功能配置详情,请电话咨询龙正衡器有限公司,咨询电话:023-68663815;手机号:15909382158(微信同)